
煤氣(qì)放散閥廣泛應用(yong)于冶金、建材、化工(gong)等行業的❤️煤氣、空(kong)氣和其它氣體管(guǎn)道,作為切斷氣體(tǐ)介質設備,也可用(yòng)于氣體的排放和(hé)發散。
結構特點:
Structure characteristic:
煤(mei)氣放散閥結構簡(jian)單,采用外口密封(fēng)裝置,FSX-1C型為矽橡🤞膠(jiao)密💛封圈,FSH-1C型為不鏽(xiù)鋼硬密封圈,密封(fēng)性能可靠。
The valve’s characteristic is simple which has the out seal device. Type FSX-1C has silicon rubber seal. Type FSH-1C has stainless steel hard seal. The seal is reliable.
性能參(cān)數;
Performance parameter:

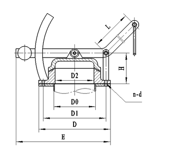
外形圖:

FS X H-1C外形連(lian)接尺寸:
Appearance joint dimensions:
DN | D0 | D1 | D2 | D | H | L | n-d | 重量(liang)W (Kg) | |
150 | 162 | 140 | 850 | ||||||
200 | 216 | 160 | 850 | 12-18 | 230 | ||||
250 | 270 | 395 | 240 | 440 | 170 | 1100 | 1000 | 12-Φ22 | 325 |
300 | 490 | 1200 | 12-22 | 420 | |||||
372 | 540 | 210 | 1600 | 1500 | 525 | ||||
400 | 422 | 550 | 595 | 230 | 1800 | 1700 | 16-Φ22 | 640 | |
450 | 600 | 440 | 645 | 250 | 2000 | 20-22 | |||
522 | 655 | 490 | 705 | 2250 | 2100 | Φ26 | |||
572 | 705 | 540 | 755 | 300 | 2500 | 20-Φ | 990 | ||
622 | 760 | 590 | 810 | 330 | 2550 | 20-Φ26 | 1110 |
›·•
›·
··
···