
XBF-Ⅰ Ⅱ洩爆閥
The valve is mainly used in building material, metallurgy and electric power industries etc. It is applied in bearing pressure gas pipe equipment and system to vent pressure in a flash and avoid destroy of pipe and device. It prevents the super-pressure exploding and assures the running of production
結構特點:
Structure characteristic:
XBF-Ⅰ型由(yóu)箱體及防爆門組(zǔ)成。當系統壓力超(chāo)過設計壓㊙️力時,防(fang)🎯爆門自行開啟洩(xiè)壓,防止系統發生(shēng)爆炸。洩🧑🏽🤝🧑🏻壓後,系統(tǒng)壓力降低,防爆門(men)在重錘的作用下(xià)自動回位。XBF-Ⅱ型由閥(fá)體、防爆片、夾持器(qì)、閥蓋、重錘等組成(chéng)。當💋系統壓力超過(guo)設計壓力時,防爆(bao)片自行破裂,防止(zhi)系統發生爆炸。洩(xiè)壓後,由于重錘的(de)作用,閥蓋自動關(guan)閉,可避免介質大(dà)量外洩。
Type XBF-Ⅰ is made up of body, anti-exploding slice, nip device, lid and heavy hammer etc. When the system pressure exceeds the design pressure, anti-exploding slice would break itself, which can prevent the exploding. After letting out pressure the lid would close automatically in the effect of heavy hammer. And prevent the vent of medium. XBF-Ⅱ is made up of box and anti-exploding gate. When the system pressure exceeds the design pressure, anti-exploding slice would break itself, which can prevent exploding. After letting out pressure the anti-exploding gate would replace automatically in the effect of heavy hammer.
性能參數(shu);
Performance parameter:

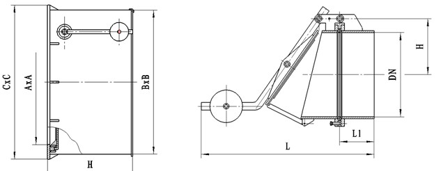
XBF---Ⅰ外形圖:

XBF---Ⅰ外形連接(jie)尺寸:
Appearance joint dimensions
A×A | B×B | C×C | H | |
400400 | 560×560 | 156 | ||
500500 | 660× | 400 | 225 | |
×600 | × | 328 | ||
700×700 | 880×880 | 940×940 | 500 | 458 |
XBF-Ⅱ外形連接尺(chǐ)寸:
Appearance joint dimensions
DN | L | (Kg)W | ||
300 | 250 | |||
275 | 69 | |||
400 | 1010 | 300 | 77 | |
450 | 1060 | 252 | 83 | |
1180 | 300 | 370 | ||
600 | 1280 | 420 | 152 | |
700 | 1390 | 470 | ||
300 | 520 | 165 | ||
900 | 350 | 600 | 335 | |
1000 | 650 | 375 |
›·••·